miHoYo Applied Multiple Trademarks of “-verse”, Suspectedly to Expand Its Metaverse Business

Translate
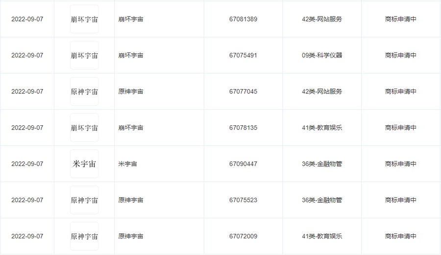
Chinese data technology service company Tianyancha shows that Shanghai HoYoverse recently applied for several trademarks of “原神宇宙” and “崩坏宇宙”, which were believed to be "Genshinverse" and "Honkaiverse" though no official English name has yet been announced.
The international classification includes scientific instruments, website services, education, entertainment, etc. All the applications are currently pending.
                       Trademarks Applied by miHoYo, via Tianyancha
The trademark "HoYoverse" was registered in September and October of last year, eventually leading to miHoYo rebranding as HoYoverse as it aims to expand globally and create a broader content-driven virtual world that integrates games, anime, and more.
Source: Weibo
Mentioned games
Comments
Latest
12B004 LAKSHMAN S
12B004 LAKSHMAN S
24
I love mihiyo games
09/30/2022
CyBeast36
CyBeast36
13
I'm very excited for honkai star rail
10/13/2022
Brilhante
Brilhante
13
im very excited for ZZZ
10/02/2022
Radkat504
Radkat504
9
bro ZZZ look sick af ,cant wait too
10/03/2022
Jas
Jas
9
Totally slayed Mihoyo games
10/05/2022
SH4D0WZ
SH4D0WZ
3
definitely Gonna Free Up alot of Space for Zenless Zone zero
10/19/2022
christopher clark
christopher clark
1
grey
10/24/2022
Son of Rome
Son of Rome
1
Garbage!
10/11/2022
View 1 reply
No more comments. Why not add one?
下一页
Say something...
41
0
9